饿了么申请注册“吉哇闪购”商标
2025-03-07 13:58
139194
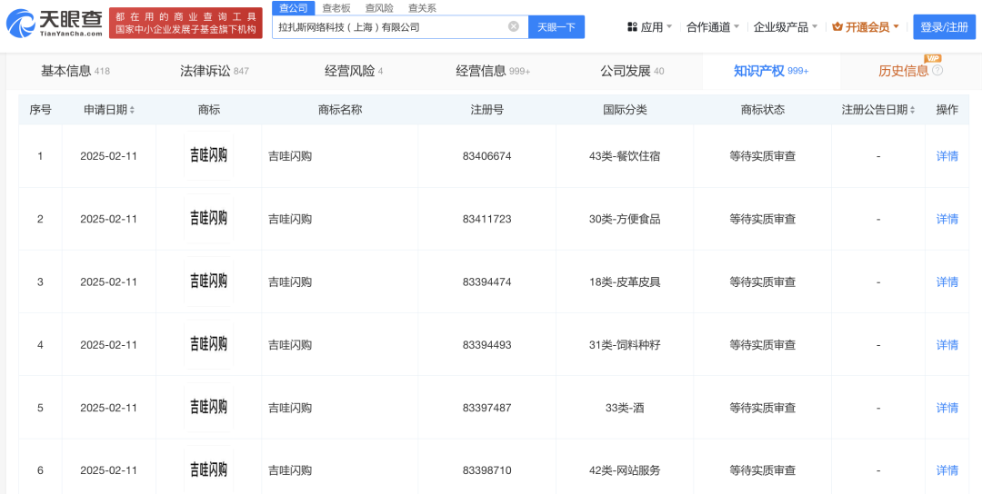
天眼查知识产权信息显示,近日,饿了么关联公司拉扎斯网络科技(上海)有限公司申请注册多枚“吉哇闪购”商标,国际分类为网站服务、餐饮住宿

2
天眼查知识产权信息显示,近日,饿了么关联公司拉扎斯网络科技(上海)有限公司申请注册多枚“吉哇闪购”商标,国际分类为网站服务、餐饮住宿

表情