江西坤投商业保理有限公司获批注册
5月13日,江西坤投商业保理有限公司在江西获批注册,公司注册资本金500万元,股东为尹彦林、江菊容2名自然人。205号文,注册资本为500万的商业保理
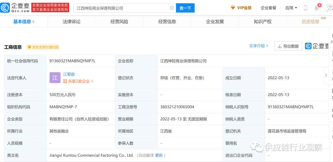
5月13日,江西坤投商业保理有限公司在江西获批注册,公司注册资本金500万元,股东为尹彦林、江菊容2名自然人。205号文,注册资本为500万的商业保理公司完成工商注册,这是小供第一次遇到。
尚不知该保理公司是否完成必要的设立审批手续?

(供应链行业观察整理)
5月13日,江西坤投商业保理有限公司在江西获批注册,公司注册资本金500万元,股东为尹彦林、江菊容2名自然人。205号文,注册资本为500万的商业保理
5月13日,江西坤投商业保理有限公司在江西获批注册,公司注册资本金500万元,股东为尹彦林、江菊容2名自然人。205号文,注册资本为500万的商业保理公司完成工商注册,这是小供第一次遇到。
尚不知该保理公司是否完成必要的设立审批手续?

(供应链行业观察整理)
表情