【商业银行拓展物流金融业务策略和营销方式】

2014-09-22 17:33 1698

商业银行拓展物流金融业务建议  一、通过大型物流公司寻找意向客户  在我国,银行业一直在为寻找和留住优质客户而发愁。现在,银行业可以

        商业银行拓展物流金融业务建议

  一、通过大型物流公司寻找意向客户

  在我国,银行业一直在为寻找和留住优质客户而发愁。现在,银行业可以借助物流金融这个平台,向公司进行渗透,从而可以获得很多优质的客户。下面具体的分析银行如何通过大型物流公司寻找意向客户。

  (一)选择优质物流公司作为合作对象

  银行业开展物流金融这项业务,离不开物流公司,而银行对物流公司的选择至关重要,因此,银行要根据自己经营的具体情况,对合作对象进行优选。选择时,银行要考虑,可以跟哪些物流公司展开深入的合作,和哪些物流公司只进行表面业务的合作。战略对象选择的成功,不光可以使双方合作愉快,而且能使得双方的业务都能快速发展。选择物流公司时,银行可以根据物流公司的经营业绩和物流公司的评级来进行选择。

  1.根据物流公司的营业收入进行选择

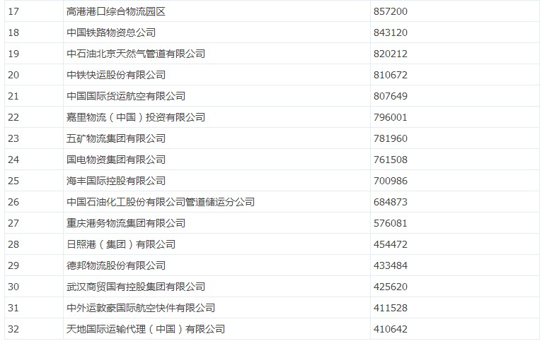
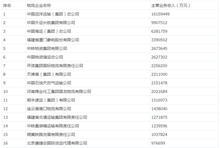
  统计数据显示,2011年中国50强物流企业主营业务收入共达7274亿元,同比增长17.5%。其中,中国远洋运输(集团)总公司主营业务收入超过千亿元,中国外运长航集团有限公司等14家企业主营业务收入超过百亿元,同比增加6家。排名第50名物流企业的主营业务收入达到18.79亿元,同比增加6.6亿元,增长54%。

  银行可以根据以上50家企业的名单对合作伙伴进行选择,这种选择方法的最大优点就是能选出当今市场上,业务量最多,和企业打交道最频繁的物流企业。如排在第六位的中储已与包括工商银行、中国银行、交通银行、深圳发展银行、民生银行、华夏银行、中信银行、光大银行、招商银行、渣打银行、法国巴黎银行、奥地利中央银行等20家银行签署了总对总框架协议,合作开展物流金融业务,公司质押业务现已推广至全国27个省份;排在第二位的中外运也已与中国工商银行、中国银行、交通银行、深圳发展银行、渣打银行等20多家中外银行共同合作提供质押商品在运输、仓储等物流状态的融资和监管服务,除了利用仓库监管,中外运还开发了对运输途中货物的监管,使得不仅仅是仓库中的货物可以作为银行贷款抵押物,在运输途中的货物也可以作为抵押物进行贷款,这些物流都是银行优先选择的合作对象。

  2.根据物流企业评级进行选择

  我国的物流企业,参差不齐,银行在选择物流企业进行合作时,可能会碰到“地雷”,因此银行可以结合中国物流与采购联合会的评级对物流公司进行选择。2012年7月15日,中国物流与采购联合会审定通过第十四批A级物流企业337家(包括:升级企业49家)。至此,我国共有A级物流企业1766家。其中5A级物流企业110家、4A级物流企业576家、3A级物流企业751家、2A级物流企业309家、1A级物流企业20家。

  对于以上的110家5A级企业,银行有的肯定很熟悉,但是有一些也会比较陌生,对于银行熟悉的物流企业,银行可以直接跟其谈合作的一些条件,对于银行不熟悉的物流企业,银行又想与其展开深入的合作,银行还要对其进行摸底调查。银行通过选择优质的物流企业,作为打开物流金融业务的钥匙,非常有效。

  (二)通过物流企业“开拓”潜在客户

  物流企业是连接银行和其它生产企业的纽带,对于大部分生产企业来说,他们都有较大的融资需求,银行可以借助物流企业,对这些生产企业进行放贷,而物流企业跟生产企业的接触一般要多于银行,因此,物流企业对生产企业经营状况也会了解的更多,有物流企业做屏障,银行对生产企业的贷款风险,会及时的发行,并能够得到妥善的解决。

  (1)“1+N”的模式开发客户。对于每一家大型物流企业来说,与其有业务往来的公司有成千上万家,而这些企业中,有很多优质的企业资源,银行可以通过物流公司作为中间的纽带,打通与其它生产企业之间的通道,这种“1+N”的模式,不光能加深银行和物流企业之间的关系,而且能够通过物流企业获得更多的企业客户,所以这种模式值得银行借鉴。

  (2)“N+1+N”的模式开发客户。银行可以通过一家大型的物流企业,以供应链的方式,去开发物流企业上游的公司和下游的公司,这种“N+1+N”的模式能使银行接触更多的公司。银行通过对其进行业务方面的一些优惠,加大对上下游公司的营销力度,使得这些企业能够成为银行的忠实客户。

  总的来说,银行通过物流企业开拓业务,是一种不错的策略,而对于模式的选择,不同的银行也需要根据具体的情况来决定,除上面的两种模式以外,还可以有其它很多种的模式,银行也可以根据具体的公司,具体的业务进行创新。而在对企业收费方面,银行也需要关注一个“适度”原则,太高的收费会“吓跑”很多企业,太低的收费又会使得银行无法盈利,所以银行在开展业务的时候,不光要考虑客户的选择问题,还需要考虑能为客户带来什么的问题。

  (三)银行选定目标客户后的营销策略

  商业银行通过大型物流公司锁定企业后,银行怎样展开营销,是一个难题,往往是银行很容易就锁定目标客户,但是不知道该从何入手,在这里,我们重点介绍以下几种营销策略供相关人员参考。

  1.物流公司推荐法

  企业有没有融资需求,银行一般很难察觉,如果能借助物流企业,银行就能很快了解市场中企业对资金的需求程度,既然银行已经选定合作伙伴,那么银行就要对合作伙伴的资源进行充分的利用,双方可以在合作初期就可以约定,在开展物流金融业务的时候,物流企业可以直接向银行提供需要融资的企业的名单,这样,就省去银行很多的时间和精力。

  对于物流企业推荐的需要融资的企业,银行可以根据与合作伙伴的合作程度,进行有选择性的放贷,物流机构将作为质押监管人或者是担保人。在该种方法中,物流企业起着至关重要的作用,所以双方业务是否能顺利的展开,就要看银行和物理企业之间的利益关系和合作的深度。

  2.产品“诱惑”法

  对于需要融资的企业来说,从那家银行能顺利借到钱,并且所需的成本和时间最少,企业就会选择该银行进行融资。因此,银行针对物流金融业务的产品设置需要有很强的竞争力,不光在放贷速度上,要比同行快,在相关的利率和放贷数量上,也要比同行有优势,只有这样,借款企业才会选择该银行进行融资。反之,有很多企业花高成本去融资,带给银行的风险也不可低估,所以银行在风险和收益上,要有权衡。

  3.业务绑定法

  业务绑定法也就是说银行和物流企业在业务方面展开全面的合作,只要企业和物流企业有长期的业务往来,并且双方的贸易金额达到一定的水平,均可以从银行处获得贷款。在该营销方法中,银行需要制定相关的准入细则,要对合作物流企业的客户做一些筛选,然后才选择企业进行放贷,在该种方法中,银行会接触很多的客户,但是评审关非常重要,这是银行应该重点把握的。

  通过物流企业找到意向客户后,营销方法和手段还不止以上几种,上面只是介绍最重要的几种方法,银行可以借鉴,具体的策略要根据银行的具体情况和企业的经营情况来决定。总的来说,银行针对该项业务的营销方法还有很多,但是最主要的宗旨有两个:一是物流企业搞好关系;二是练好自己的基本功。只有这样,银行才可以把这项业务做到最好。

  二、通过客户寻找物流公司进行合作

  银行在在开拓物流金融市场的时候,有时候从物流企业很难入手,在这个时候银行可以考虑从银行已有的大型客户入手,去寻找物流公司进行合作。

  (一)选择中大型客户入手

  在银行原有的企业客户中,一般会有很多优质的中大型生产企业,这些企业需要物流公司对其生产的货物进行运输,因此,银行可以与这些熟悉的老客户进行合作,为其选择一家最合适的物流公司,这样,银行就达到通过固定客户开发物流企业的目的。

  对于很多中大型企业来说,一般都有固定的物流公司为其服务,银行通过这些客户为纽带,很容易打开物流公司的大门。银行在开拓物流金融市场时,要优选已经和本银行开展业务的大型企业和物流公司,对他们进行深入的挖掘,能使得银行在开拓该业务时达到事半功倍的效果。

  银行在选择中大型客户展开合作的同时,也需要考虑相对应的物流企业的经营情况,对于小的物流公司,银行要根据实际情况对其营销,对于中大型的物流公司,银行要通过各种营销方法,以达到将其拿下。

  (二)合作方式要求多元化

  银行通过固定客户为纽带,确定物流企业后,双方的合作要求展开多元化的合作。银行不光可以为企业提供融资和结算业务,还能通过仓单质押、动产质押、保兑仓等业务展开合作。只有双方展开全面的合作,才能为相关的企业提供更多的服务,这对开展物流金融主要的三方来说,都是有利的。

  多元化的合作方式,能使银行的中间业务和企业存款均有所增加,而银行通过大型企业客户打通物流金融的通道,对其占领物流金融市场的份额有着重要的意义。所以,当银行通过物流企业无法打开市场的时候,可以考虑通过大型企业客户为突破口,来打开业务的通道。

  综合来看,银行在拓展物流金融业务的时候,通过大型企业为突破口也是不错的选择,但是这样做也有一定的局限性,在时间和合作的空间方面,也受企业的限制,因此,银行在考虑以大型企业为突破口的时候,一定要考虑相关的物流企业的经营情况,银行只有和优质的物流企业进行合作,才能为银行带来长远而且丰厚的收益。

  (三)选定客户后营销策略

  由于银行已经有中大型的客户在手,并且关系维护的非常好,因此银行在开展物流金融的时候,可以借助大企业进行营销,具体的营销方法有下面几种:

  1.公司引荐法

  该种方法就是银行通过与中大型企业搞好关系,然后通过中大型企业引荐,让银行与物流公司展开合作。该种方法的要点就是,银行以中大型公司客户为突破口,反向寻找物流企业,从而达成合作的意愿,共同为企业服务。

  2.强制业务法

  由于中大型客户本是银行的老客户,双方合作中,可以约定,和公司签订物流合同的企业,必须与某银行展开业务的合作。这样一来,银行可以通过中大型公司,获得与物流企业合作的机会。该种方法的要点是,等待为中大型企业物流服务的公司众多,银行和物流企业的关系非常好,双方可以组成利益共同体。该种方法的弊病就是,容易引起物流企业的反感,造成“人在曹营心在汉”的假象,所以银行在获得与物流企业合作的机会后,要用产品和服务打动物流企业,使得真心臣服于银行。

  3.互利共赢法

  银行和物流企业均是为企业服务,因此双方有共同的目标,只要双方的利益一致,双方就会有合作的意愿,因此,银行借助企业可以营销物流企业,也可以借助物流企业营销借款企业,这是一个双向的选择。而从这几年物流金融的业务情况来看,物流企业借助金融机构,双方均可以获得快速的发展。

  综合来说,银行借助中大型企业客户营销物流企业的方法还有很多,银行可以根据与企业合作的深度和意愿来决定营销的策略。因为银行和物理企业有着共同的目标和利益,双方的合作会有较多的切入点。

  三、通过港口码头等寻找合作的机会

  一般来说,物流企业相对集中的地方是港口、车站等货运中转的地方,而借助相关的港口管理机构和行业协会,开展物流金融这项业务,也是银行的一条捷径。

  (一)通过港口拓宽物流金融业务通道

  2010年5月,作为全国港口第一家涉足物流金融业务的天津港散货交易市场,组建两年多来,已与77家物流企业建立紧密物流金融业务关系,累计为客商获得近48亿元的融资贷款,监管电煤、焦炭、矿石和木材等大宗商品400余万吨,实现收入1100万元,为天津港稳固吞吐量850万吨。除天津港之外,龙口港是烟台港三大核心港区,该自2003年以来,龙口港港口吞吐量以每年500万吨的速度递增。2011年,由于竞争日趋激烈,龙口港联合当地银行通过打造“物流融资支持平台”以支持进出口外贸公司,该港因此先后获得银行授信55亿元,培育出龙强贸易、淄博天泽燃料油有限公司、南金兆集团、烟台翔宇物资有限公司等近30个客户。通过这些成绩,我们不难看出,通过港口码头,开展物流金融业务,是一种趋势,银行可以把握住这种趋势,通过与港口管理公司和相关协会等合作,来开展这项业务。

  一般来说,通过与港口管理机构开展这项业务,银行能非常迅速的打入跟港口合作的物流企业中。但是由于跟港口合作的银行家数众多,怎样才能分到更多的蛋糕,是银行应该考虑的问题。针对这一难题,银行可以通过跟港口合作、派驻人员等方式来开展该项业务,随着我国经济的不断发展,我国的进出口贸易会越来越发达,加上国内消费水平的不断提高,物流企业将迎来新一轮发展的高潮,银行只有提前布局物流企业,并展开深入的合作,才能在这波发展中获得更多的收益。

  (二)通过物流行业协会来拓宽业务

  银行开展物流金融业务,还可以通过物流行业协会来进行业务的拓展。我国物流行业协会,有国家批准的,也有地方企业自发成立的。银行通过与这些协会合作,来开展该项业务,更具有针对性。

  1.中国物流与采购联合会

  中国物流与采购联合会是由国务院批准设立、受国家经贸委业务指导、民政部社团登记管理的具有社团法人资格的全国性行业组织,是由全国性或省、自治区、直辖市、副省级城市物流和生产资料流通专业社团,各种经济成分的生产资料流通企业、物流企业、批发市场以及相关的科研、教学单位自愿联合组成的全国性行业组织,现有会员400多家。

  银行如果能够与其展开合作,那么在开展物流金融这项业务的时候,银行就有更多的选择,所以银行如果能与该机构展开合作,那是再好不过的。

  2.各地方物流行业协会

  对于各银行地方分支行来说,与地方的物流行业协会展开合作,也是不错的选择,例如:地方型行业协会如广东省物流行业协、东莞物流行业协会、芜湖市物流行业协会、云南物流行业协会等,这些协会下面一般都有上百家物流企业,而这些物流企业中,也有一些大的项目,所以银行可以根据具体情况,与这些地方性的物流行业协会展开合作。

  (三)银行选定客户后的营销策略

  银行要与当地管理机构合作,在选择切入点的时候,银行要根据机构的设置和分类(国有还是私营)来进行营销战略的选择,总结起来,下面几种方法银行可以考虑:

  1.局部合作的方法

  局部合作指的是银行和当地管理机构的分部合作,主要针对物流金融中的某项业务,银行在对企业的选择上也会有一定的标准,主要符合银行要求的企业,向当地管理机构申请相关的物流金融融资,银行就可以和当地分部机构展开局部的合作。

  在局部合作中,当地管理机构的管理能力和物流企业家数,是制约银行发展该项业务的最主要因素,所以银行在选择港口和码头管理机构的时候,要提前做考察。

  2.全面合作的方法

  全面合作主要是指,银行能为当地物流企业提供物流金融中的所有产品,因此只要企业有需求,银行都能够满足企业的需求,这对银行来说,是挑战也是机遇。如果银行能跟管理机构签订排他性的合作文件的话,效果会更好。

  在全面合作中,银行最好能派驻相关人员在指定的地点办公,这样就方便企业办理业务,也方便当地管理机构的沟通。

  3.银企合作的方法

  在以往的银企合作的营销方法,在正对物流金融营销时,仍然有用,银行选定合作的机构后,展开的营销,最好是通过“高对高”的营销策略,只要双方高层达成一致意见,银行在开展该项业务的时候,就容易的多,所以银行选择的突破口,一般是从高到低的营销方式。

  在这里要提的是,由于银行和当地物流管理机构,都希望能够通过物流机构获得收益(银行通过物流企业拓展公司业务,管理机构通过物流企业发展地方物流经济),双方有利益的交叉点,但是管理机构在对银行的选择上,会有一些筛选,所以银行针对管理机构的营销是必不可少的,这一点相信每家银行都清楚,而针对这些管理机构的营销策略,每家银行都有自己的绝招,在这里就不一一叙述。

  总的来说,银行通过港口码头等管理机构展开物流金融这项业务的时候,营销策略的选择和方法的选择至关重要,只要选对方法,将相关的负责人搞定,那么整个营销已经成功一大半。

  综合来看,物流金融在我国的发展前景广阔,银行在现阶段通过各种渠道,介入该行业,通过与物流企业精诚合作,能为银行带来丰厚的利润。以上的几个突破口,是银行应该重点考虑的,但是鉴于不同的银行,有不同的优势和不同的渠道,所以在开展该项业务的时候,银行也需要结合市场环境、物流行业的具体情况和自身的优势来开展该项业务。

 

       来源:互联网

        欢迎关注微信: 物流金融     wuliujinrong


 

0
标签: 商业银行 银行业 
发表评论
同步到贸金圈表情
最新评论

线上课程推荐

火热 45节精品课,全景解读供应链金融科技风控与数据风控的深度剖析

  • 精品
  • 上架时间:2020.08.29 17:33
  • 共 45 课时

火热 融资租赁42节精品课,获客、风控、资金从入门到精通

  • 精品
  • 上架时间:2020.10.11 10:35
  • 共 42 课时
7日热点新闻
热点栏目
贸金说图
专家投稿
贸金招聘
贸金微博
贸金书店

福费廷二级市场

贸金投融 (投融资信息平台)

活动

研习社

消息

我的

贸金书城

贸金公众号

贸金APP