私募周报:超100位公募人士离职,7月公奔私再添2位大佬(附今年公奔私名单)
来源:格上研究中心【行业数据】今年以来公募离职人数达102位,明星基金经理夏俊杰和刘宏现身7月新备案私募法代名单【调研动向】私募调研热情有
来源:格上研究中心
【行业数据】今年以来公募离职人数达102位,明星基金经理夏俊杰和刘宏现身7月新备案私募法代名单
【调研动向】私募调研热情有所回升,人工智能龙头“科大讯飞”受关注
【周度业绩】管理期货策略夺冠,宏观对冲策略再次垫底
【市场观点】弘尚资产:宏观经济温和复苏,货币政策维持稳健中性;朱雀投资:人民币连续升值利好美元负债行业,周期股调整符合预期;星石投资:人民币汇率基本面向好,预计CPI将出现一定回升;翼虎投资:货币层面进一步收紧,重点关注市场情绪变化
【行业动态】银监会叫停银行备案私募基金;私募瞄准上市公司6000亿理财资金;保险系私募再添新丁,总数已达10家;“重组股神”蝶彩资管遭罚没1.45亿元,实控人被终身市场禁入
【备案数据】本周新备案证券类产品238只,新备案私募管理人28家,与上月持平
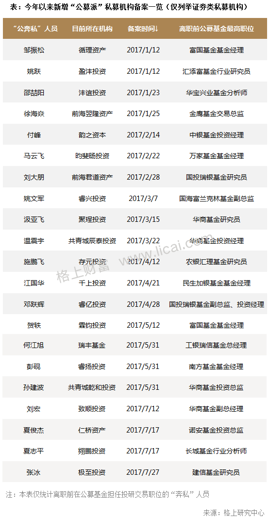
一、今年公募离职人数达102位,明星基金经理夏俊杰和刘宏现身新备案私募法代名单
2007年,中国私募基金行业迎来了第一波“公奔私”的大潮。今年是“公奔私”的第十年,之前“奔私”的大佬已成为推动整个私募行业发展不可或缺的中坚力量,而随着新的奔私人员不断加入,“公奔私”的队伍在日渐壮大中。
据格上研究中心统计,今年以来公募基金经理离职人数达102位,共涉及58家公募机构。其中,华夏、嘉实、摩根士丹利、长信基金这四家公募的离职基金经理数最多,每家均有4位基金经理离职,大成、东方、广发等8家公募的离职基金经理次之,每家均有3位基金经理离职。从公开信息来看,大部分离职的基金经理均未向外界透露离职去向。


格上研究中心数据显示,截至7月底,今年以来新增备案证券类私募机构共812家,其中39家的法人代表有公募基金从业背景,21家有公募基金投研交易任职经历。

值得注意的是,在7月新备案的122家证券类私募管理人中,公司法人代表有公募基金经理任职背景的有两家,分别是夏俊杰创办的仁桥资产和刘宏创办的广州致顺投资。
长跑高手夏俊杰离开“诺安”,创办仁桥资产
格上研究中心数据显示,夏俊杰有11年基金行业从业经历,其中包括8年基金经理从业经历。在加入诺安之前,夏俊杰曾任嘉实基金行业研究员。2008年9月加入诺安基金后,其历任诺安灵活配置基金的基金经理、权益配置组总监、事业部投资总监等职位。据格上研究中心了解,夏俊杰在诺安任职期间曾管理过5只产品,其中管理时间最长的产品为“诺安灵活配置”,管理时间长达7年,任期回报达141.47%。而同期沪深300指数从3200点冲高至5800点又回落至3400点附近,期间涨幅不超过10%。离开诺安基金后,夏俊杰成立了仁桥资产,并于今年7月17日在协会备案。

“华商”明星基金经理刘宏另起炉灶,创办广州致顺投资
刘宏自2008年4月开始加入华商基金,先后担任基金经理助理、华商价值精选股票型基金、华商产业升级股票型基金、华商盛世成长股票型基金和华商创新成长灵活配置混合型基金的基金经理,华商基金投资管理部副总经理,以及投资决策委员会委员。据格上研究中心了解,其管理时间最长的基金的在其任职期间回报达119%,排名行业前1/8。今年年初,刘宏宣布从华商基金离职,同年7月创办了“广州致顺投资”。

二、阳光私募机构调研动向:私募调研热情有所回升,人工智能龙头“科大讯飞”受关注
本周市场出现分化,全周沪深300和上证50分别下跌1.62%和2.19%,中小板指跌0.31%,只有创业板指逆市上行,上涨1.31%。行业层面,本周食品饮料行业上涨3.66%,涨幅居首,而近期关注度较高的传统周期性行业则没能再继续之前的强势上涨,出现回调。据格上研究中心统计发现,本周私募机构调研热情相比上周有所上涨,共调研了31家上市公司,环比上涨106.67%。
本周私募对创业板关注度最高,占比为41.94%,中小板关注度为32.26%,主板关注度最低为25.81%。行业方面,电子和公用事业关注度最高,分别有6只和5只个股被私募机构调研。

格上研究中心发现,本周人工智能概念股“科大讯飞”成为私募机构关注的焦点,被41家私募机构调研,其中包括暖流、观富等知名机构。据格上研究中心了解,“科大讯飞”是一家专业从事智能语音及语言技术研究、软件及芯片产品开发、语音信息服务及电子政务系统集成的国家级骨干软件企业。目前公司在以“从能听会说到能理解会思考”为目标的讯飞超脑项目上,持续加大投入,在感知智能、认知智能等领域均取得显著研究成果。“科大讯飞”作为A股人工智能行业龙头企业,本周备受私募关注。


三、阳光私募周度业绩表现:管理期货策略夺冠,宏观对冲策略再次垫底
从各策略的业绩表现来看,上周私募业绩两极分化严重,管理期货一骑绝尘,表现明显好于其他策略,获得了最高的周度收益,达1.87%,正收益占比高达75.93%。而其他策略表现平平,其中宏观对冲策略再次垫底,收益为-1.10%。


四、阳光私募机构最新市场观点
1)弘尚资产:宏观经济温和复苏,货币政策维持稳健中性
基本面方面,从本周及6月份公布的数据来看,宏观经济基本面整体仍保持温和复苏走势,但三季度房地产销售增速放缓趋势已现,预计下半年GDP增速继续回升概率较小,中期经济增长维持“L”型走势概率较大。
海外方面,美国经济基本面短期略显疲软,7月份密歇根消费信心指数终值为93.1,低于6月份的95.1,创2016年美国大选以来最低水平,同时美国6月份CPI及核心CPI同比均低于市场预期,预计9月份美联储继续加息概率并不大。
政策方面, 二季度央行货币政策执行报告已经较为清晰地阐述了政策基调与立场,未来央行在金融监管中的领导作用将会继续加强,把主动防范化解系统性金融风险放在更加重要的位置。而在金融监管态度并未放缓的背景下,货币政策维持稳健中性、相机抉择的概率较大。
2)朱雀投资:人民币连续升值利好美元负债行业,周期股调整符合预期
汇率变化方面,人民币连续升值,有利于机电、石油等进口行业和航空等美元负债行业;而家电、纺织服装等出口行业则构成利空因素。从经济方面来看,中国经济下行程度弱于预期,而美国复苏程度低于预期,这是人民币对美元升值的核心因素;从利率平价的角度来看,中美利差走阔支撑汇率升值。
周期股价格出现波动,表象原因为中钢协发文、上交所实施交易限额并上调平仓手续费;而深层次的原因在于,上游原材料价格的大幅上涨,将不利于落后产能的永久退出,而持续上涨将给中游制造业、乃至中国经济带来巨大的压力。调整符合预期,调整之后的策略依旧是个股选择的重要性重于仓位,这也是今年乃至后续中期的投资特征之一。
3)星石投资:人民币汇率基本面向好,预计CPI将出现一定回升
外贸方面,受美欧经济复苏边际走弱的影响,制造业内外需扩张的速度略有放缓,但贸易顺差持续回升至467.4亿美元,足以对经济和汇率形成足够的支撑。同时我国的外汇储备连续6个月出现回升,伴随着我国经济的复苏企稳,中美之间经济的周期差正在逐渐缩小,实体经济的稳健为汇率提供了坚实的基本面支撑。同时,A股纳入MSCI、债券通的开通为国内带来了资金流入,央行也加强了对汇率的调控,未来人民币单边贬值的压力已经大大减弱。
展望后期,伴随着8-10月猪肉消费旺季的到来,以及猪粮处于低位,预计猪肉价格将会出现一定的回升,水果价格下跌的季节性因素也将逐渐趋缓。预计后期CPI将会出现一定的回升。
PPI反弹的逻辑一方面在于供给侧改革的速度超预期,另一方面在于环保督查的力度加强,压缩了部分产品的供给,推动了大宗商品的涨价。预计短期内受供给端的影响,三季度涨价仍将持续,四季度受高基数的影响,同比增幅可能出现回落。
4)翼虎投资:货币层面进一步收紧,重点关注市场情绪变化
宏观面,央行二季度货币执行报告中再次强调防范风险,抑虚向实相比脱虚态度上对于金融空转更加否定。而对于5000亿以上银行同业纳入表内考核,商行货币创造能力下降。总体上认为货币层面在进一步收紧
国内而言,新周期再起的论调被质疑,而官媒中对于环保一刀切导致的负面影响也开始提出反思,这直接影响到环保限产的执行预期,资源品环保溢价存在修正,而政策微调也在出现,交易所调整螺纹钢手续费以及限仓,一定程度给市场降温。
市场情绪方面,美股连续近2个月的低波动率,VIX低位运行,前期累积的乐观情绪修复对市场的利空冲击并未消散。考虑到事件因素持续性以及恶化深度不够,如果VIX指数达到25左右,基本上市场利空风险释放完毕。
五、私募行业动态
银监会叫停银行备案私募基金
17家商业银行的私募基金管理人资格备案被叫停。据悉,多家商业银行收到银监会窗口通知,将依法撤回在中国证券投资基金业协会的私募基金管理人资格备案。对此,银监会目前暂未正式回应。
业内人士指出,银行备案成立私募基金,存在一定的法律和程序上的瑕疵。按照《商业银行法》规定,商业银行不得向非银行金融机构和企业投资,商业银行此举与现行法律相冲突。
私募瞄准上市公司6000亿理财资金
Wind数据显示,截至8月13日,今年以来854家上市公司认购理财产品,累计认购金额超6130亿元。其中,绝大部分资金配置了银行理财产品,部分资金进入证券私募基金账户,这部分资金在私募基金规模占比中越来越高。不过,目前配置私募基金的上市公司仍属少数,双方能否形成合作,不仅要看上市公司的配置意愿,还受到私募基金风格和上市公司需求是否匹配、合同能否接受、销售资源能否支撑等多个因素的影响。
保险系私募再添新丁,总数已达10家
近日,华泰保险集团旗下的华泰宝利投资管理有限公司在基金业协会备案,保险系私募基金管理机构再添一家。自2015年保监会首次批准保险机构试点设立私募基金以来,保险系私募基金队伍不断扩大。据统计,具有保险机构股东背景的私募股权基金机构已有10家,其中,首家保险系私募合源资本已设立27只基金产品。
“重组股神”蝶彩资管遭罚没1.45亿元,实控人被终身市场禁入
证监会近日依法对2宗案件作出行政处罚,其中包括1宗内幕交易案和1宗操纵市场案。在1宗操纵市场案中,恒康医疗控股股东及实际控制人阙文彬与蝶彩资产管理(上海)有限公司(简称蝶彩资产)、蝶彩资产实际控制人谢风华合谋,利用作为上市公司控股股东及实际控制人具有的信息优势,控制恒康医疗密集发布利好信息,人为操纵信息披露的内容和时点,未及时、真实、准确、完整披露对恒康医疗不利的信息,客观上误导了投资者,影响了“恒康医疗”股价,实现了阙文彬高价减持“恒康医疗”的目的。
对此,证监会决定:没收蝶彩资产违法所得4858万元,并处以9716万元罚款;对谢风华给予警告,并处以60万元罚款;没收阙文彬违法所得约304.1万元,并处以约304.1万元罚款。同时,对谢风华采取终身证券市场禁入措施。
六、阳光私募行业数据:本周新备案证券类产品238只,新备案私募管理人28家,与上月持平
基金业协会最新数据显示,本周证券类产品新备案238只,环比增加5.31%;在管理人备案方面,本周新备案管理人28家,打破了上周没有私募管理人备案的沉寂。

表情